Surface Book 3 May Have A Detachable Keyboard With Rear Panel
A new rumor is making the rounds that claims the Surface Book 3 could have a very interesting new feature. The rumor claims that the Surface Book 3 may come with a new design that incorporates a detachable keyboard with a panel on the back that could be used for artists to sketch on or to write notes with a stylus.
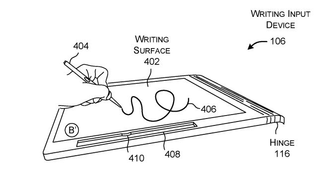
The rumor started with a patent filing that shows a notebook that looks similar to a Surface Book with a detachable keyboard. The model has beneath the keyboard a large writing surface that lets the user write notes or use it for drawing and sketching.
When the keyboard is detached and flipped over, the back is a larger writing surface used for various tasks when writing or drawing with a Surface Pen might be helpful. As a Surface user, the Surface Pen is the least used feature of my device, so for many, this feature will be a gimmick.
It’s worth noting that not all the tech that turns up in a patent makes it to production. Some feel that there has been little innovation in some of the recent Surface devices. If this tech does show up on the next Surface Book, it would undoubtedly bring that innovation back.
